চাপের ক্রিয়াটির অধীনে নিম্নচাপের পাশের ফাঁকটিতে সিলিং রিংটি আটকানো থেকে রোধ করতে রিং রিংটি ও-রিং বা স্টার রিংয়ের সাথে একত্রে ব্যবহৃত হয়। চাপ বাড়তে থাকায়, সিলিং রিংটি "এক্সট্রুশন" দ্বারা ক্ষতিগ্রস্থ হয় এবং শেষ পর্যন্ত সিল করতে ব্যর্থ হয়। যদি একটি রক্ষণাবেক্ষণ রিং ব্যবহার করা হয় তবে সিলিং রিংয়ের "এক্সট্রুশন" প্রতিরোধ করা যেতে পারে। অতএব, ধরে রাখার রিংটি সিলিং রিংয়ের পরিপূরক। এটি নিজেই কোনও সিল নয়, তবে এটি সিলিং রিংয়ের কাজের চাপের পরিসীমা বাড়িয়ে তোলে।
রক্ষণাবেক্ষণ রিংটি "এক্সট্রুশন" থেকে রোধ করতে, ও-রিংকে কার্যকরভাবে ও-রিংকে কার্যকরভাবে সুরক্ষা দেয়, এর পরিষেবা জীবন বাড়ায় এবং আরও বৃহত্তর সিলিং ফাঁক অনুমতি দেয়, যার ফলে প্রক্রিয়াজাতকরণ ব্যয় হ্রাস করে।
পণ্য বৈশিষ্ট্য এবং অ্যাপ্লিকেশন:
রিং ফর্ম এবং কাঠামোর ধরণ ধরে রাখা
প্রযুক্তিগত ডেটা
কাজের চাপ: স্ট্যাটিক সিল প্রায় 200 এমপিএতে পৌঁছতে পারে (রক্ষণাবেক্ষণের রিংয়ের উপাদান এবং সিল ধরণের উপর নির্ভর করে), রিস্রোকেটিং সিলটি প্রায় 40 এমপিএতে পৌঁছতে পারে। সুইং/ধীর গতির ঘূর্ণন প্রায় 15 এমপিএ পৌঁছতে পারে।
গতি: পুনঃপ্রকাশ এবং ঘূর্ণন প্রায় 2 মি/সেকেন্ডে পৌঁছতে পারে (উপাদানের উপর নির্ভর করে)।
অর্ডার স্ট্যান্ডার্ড
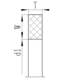
(1) টি 01 সিরিজ রক্ষণাবেক্ষণ রিংগুলি অভ্যন্তরীণ ব্যাস ডি 1, প্রস্থ ডাব্লু এবং বেধ টি দ্বারা গঠিত।
উদাহরণ: T01-00356 ডি 1: 3.56*ডাব্লু: 1.35*টি: 1.23
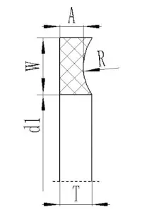
(২) টি 02 সিরিজ রক্ষণাবেক্ষণ রিংগুলি অভ্যন্তরীণ ব্যাস ডি 1, প্রস্থ ডাব্লু, এবং বেধ এ এবং টি দ্বারা গঠিত।
উদাহরণ: টি 02-027 ডি 1: 33.78*ডাব্লু: 1.35*এ: 1.14*টি: 1.24



ঠিকানা
নং 1 রুইচেন রোড, ডংলিউটিং ইন্ডাস্ট্রিয়াল পার্ক, চেংইয়াং জেলা, কিংডাও সিটি, শানডং প্রদেশ, চীন
টেলিফোন
ই-মেইল