|
চাপ/এমপিএ |
তাপমাত্রা / °সে |
গতি /মি/সেকেন্ড |
মাঝারি |
|
≤40 |
-35~+100 (এনবিআর ও-রিংয়ের সাথে মিলে যায়) |
≤2 |
হাইড্রোলিক তেল, ইমালসন, জল, গ্যাস, ইত্যাদি |
-20~+200 (ও-রিং FKM এর সাথে মিলে যায়) |
1. উপযুক্ত ও-রিং উপকরণগুলির মধ্যে রয়েছে: R01 নাইট্রিল বুটাডিন রাবার (NBR), R02 ফ্লুরোরাবার (FKM), ইত্যাদি।
2. সিলিং রিং উপকরণ: স্ট্যান্ডার্ড উপকরণ PTFE3 এবং PTFE4; অন্যান্য ঐচ্ছিক উপকরণের মধ্যে রয়েছে PTFE1, PTFE2, এবং PTFE5।
রুইচেন কাঁচামালের শুরু থেকে স্বাধীন গবেষণা এবং উন্নয়ন এবং উত্পাদন চালিয়েছে, পণ্যের পুরো চেইনের নিয়ন্ত্রণ উপলব্ধি করে।
1. ইঞ্জিনিয়ারিং প্লাস্টিক এবং যৌগিক উপকরণ: আমরা পলিটেট্রাফ্লুরোইথিলিন (PTFE) কে মূল হিসাবে গ্রহণ করি, মিশ্রন, সিন্টারিং থেকে ছাঁচনির্মাণ পর্যন্ত, সমস্ত ধরণের ভরাট পরিবর্তিত যৌগিক পদার্থের টিউব এবং রডের স্বাধীন উত্পাদন এবং তারপর সিলগুলিতে নির্ভুল প্রক্রিয়াকরণ। এটি উপাদান বৈশিষ্ট্যগুলির স্থিতিশীলতা এবং কাস্টমাইজযোগ্যতা নিশ্চিত করে।
2. উচ্চ-পারফরম্যান্স পলিউরেথেন ইলাস্টোমার: আমরা প্রিপলিমার ঢালাই থেকে শুরু করি, স্বাধীনভাবে উচ্চ-মানের পলিউরেথেন পাইপ এবং রড সামগ্রী তৈরি করি এবং সেগুলিকে বিভিন্ন ধরণের সিলগুলিতে প্রক্রিয়া করি, যা পরিধান প্রতিরোধ, চাপ প্রতিরোধ এবং হাইড্রোলাইসিস প্রতিরোধে অসামান্য।
অর্ডারিং উদাহরণ
অর্ডারিং মডেল RC2054—80×69×4.2—PTFE3—R01 মডেল-D*d*L- ম্যাটেরিয়াল কোড অর্ডারিং মডেল RCX18—80×69x4.2—HPU মডেল-D*d*L- মেটেরিয়াল কোড
স্পেসিফিকেশন এবং প্যারামিটার টেবিল (প্যারামিটার রেঞ্জের মধ্যে যে কোনো স্পেসিফিকেশন উপলব্ধ)
|
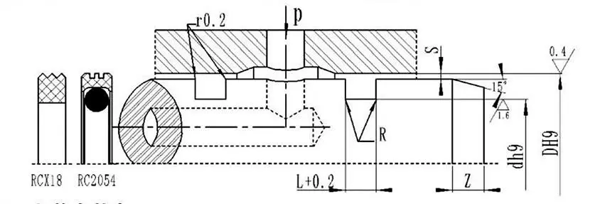
অ্যাপারচার পরিসীমা DH9 |
পরিখা ব্যাস dh9 |
ট্রেঞ্চ প্রস্থ L+0.2 |
রেডিয়াল ক্লিয়ারেন্স Smax |
বৃত্তাকার কোণগুলি Rmax |
চেম্ফার জেমিন |
|
|
0~10Mpa |
10~20Mpa |
|||||
|
8~39 |
D-4.9 |
2.2 |
0.15 |
0.1 |
0.4 |
2 |
|
40~79 |
D-7.5 |
3.2 |
0.2 |
0.15 |
0.6 |
3 |
|
80~132 |
D-11.0 |
4.2 |
0.25 |
0.2 |
1.0 |
4 |
|
133~329 |
D-15.5 |
6.3 |
0.3 |
0.25 |
1.3 |
5 |
|
330~669 |
D-21.0 |
8.1 |
0.3 |
0.25 |
1.8 |
7 |
|
670~1500 |
D-28.0 |
9.5 |
0.45 |
0.3 |
2.0 |
8 |
|
D |
d |
L |
D |
d |
L |
D |
d |
L |
D |
d |
L |
|
8 |
3.1 |
2.2 |
50 |
42.5 |
3.2 |
170 |
154.5 |
6.3 |
380 |
359.0 |
8.1 |
|
10 |
5.1 |
2.2 |
55 |
47.5 |
3.2 |
180 |
164.5 |
6.3 |
390 |
369.0 |
8.1 |
|
12 |
7.1 |
2.2 |
60 |
52.5 |
3.2 |
190 |
174.5 |
6.3 |
400 |
379.0 |
8.1 |
|
14 |
9.1 |
2.2 |
63 |
55.5 |
3.2 |
200 |
184.5 |
6.3 |
420 |
399.0 |
8.1 |
|
15 |
10.1 |
2.2 |
65 |
57.5 |
3.2 |
210 |
194.5 |
6.3 |
450 |
429.0 |
8.1 |
|
16 |
11.1 |
2.2 |
70 |
62.5 |
3.2 |
220 |
204.5 |
6.3 |
480 |
459.0 |
8.1 |
|
18 |
13.1 |
2.2 |
75 |
67.5 |
3.2 |
230 |
214.5 |
6.3 |
500 |
479.0 |
8.1 |
|
20 |
15.1 |
2.2 |
80 |
69.0 |
4.2 |
240 |
224.5 |
6.3 |
520 |
499.0 |
8.1 |
|
22 |
17.1 |
2.2 |
85 |
74.0 |
4.2 |
250 |
234.5 |
6.3 |
550 |
529.0 |
8.1 |
|
24 |
19.1 |
2.2 |
90 |
79.0 |
4.2 |
260 |
244.5 |
6.3 |
600 |
579.0 |
8.1 |
|
25 |
20.1 |
2.2 |
95 |
84.0 |
4.2 |
270 |
254.5 |
6.3 |
630 |
609.0 |
8.1 |
|
28 |
23.1 |
2.2 |
100 |
89.0 |
4.2 |
280 |
264.5 |
6.3 |
650 |
629.0 |
8.1 |
|
30 |
25.1 |
2.2 |
105 |
94.0 |
4.2 |
290 |
274.5 |
6.3 |
670 |
642.0 |
9.5 |
|
32 |
27.1 |
2.2 |
110 |
99.0 |
4.2 |
300 |
284.5 |
6.3 |
700 |
672.0 |
9.5 |
|
35 |
30.1 |
2.2 |
115 |
104.0 |
4.2 |
310 |
294.5 |
6.3 |
750 |
722.0 |
9.5 |
|
36 |
31.1 |
2.2 |
120 |
109.0 |
4.2 |
320 |
304.5 |
6.3 |
800 |
772.0 |
9.5 |
|
38 |
33.1 |
2.2 |
125 |
114.0 |
4.2 |
330 |
309.0 |
8.1 |
1000 |
972.0 |
9.5 |
|
40 |
32.5 |
3.2 |
130 |
119.0 |
4.2 |
340 |
319.0 |
8.1 |
|
|
|
|
42 |
34.5 |
3.2 |
140 |
124.5 |
6.3 |
350 |
329.0 |
8.1 |
|
|
|
|
45 |
37.5 |
3.2 |
150 |
134.5 |
6.3 |
360 |
339.0 |
8.1 |
|
|
|
|
48 |
40.5 |
3.2 |
160 |
144.5 |
6.3 |
370 |
349.0 |
8.1 |
|
|
|
দ্রষ্টব্য: প্রয়োজনীয় স্পেসিফিকেশন এখানে তালিকাভুক্ত নয়; আমাদের কোম্পানির সাথে যোগাযোগ করুন. আমরা সর্বোচ্চ 2800 মিমি ব্যাস সহ পণ্য অফার করি।



ঠিকানা
নং 1 রুইচেন রোড, ডংলিউটিং ইন্ডাস্ট্রিয়াল পার্ক, চেংইয়াং জেলা, কিংডাও সিটি, শানডং প্রদেশ, চীন
টেলিফোন
ই-মেইল